电脑桌面
添加小米粒文库到电脑桌面
安装后可以在桌面快捷访问

对纳税人变更纳税定额的核准审查工作细则

对纳税人变更纳税定额的核准审查工作细则_第1页
1/8
对纳税人变更纳税定额的核准审查工作细则_第2页
2/8
对纳税人变更纳税定额的核准审查工作细则_第3页
3/8
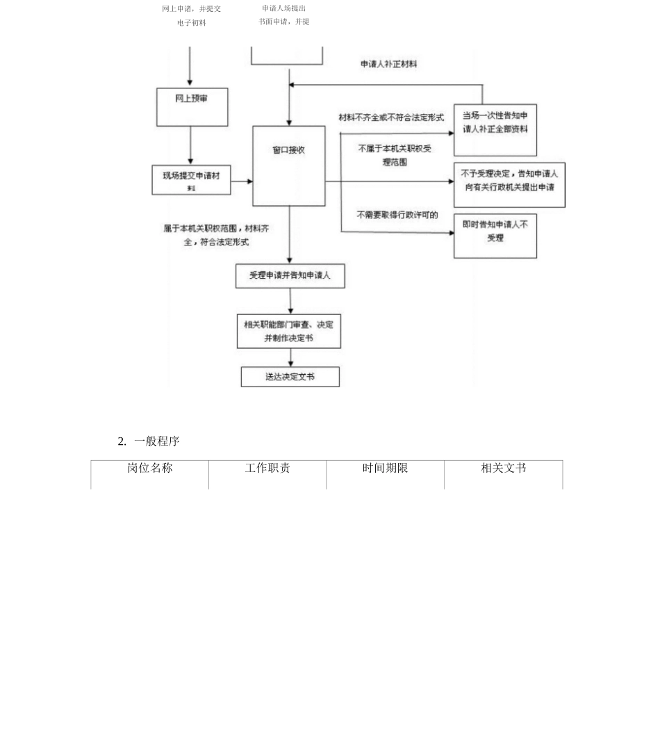
XMDSJ3 对纳税人变更纳税定额的核准审查工作细则本审查工作细则是对纳税人变更纳税定额的核准的内部工作规则,核心、内容 是细化每个审查环节的要求,明确各级审批人员的审查内容、审查标准、审查要点, 提出审查注意事项及不当行为需要承担的后果,法律规范和约束自由裁量权,明确监督措 施,监督各环节和各岗位的审查职权和责任。一、项目信息项目编码项目名称子项审批类别XMDSJ3(税务总局项目 编码 244)对纳税人变更纳税定额的核准无行政许可二、审查过程(一)审查流程1. 流程图(见下页)2. 一般程序岗位名称工作职责时间期限相关文书申谙人场提出 书面申请,并提网上申诸,并提交 电子初料受理岗受理申请。1. 根据申请材料分别制 作《税务行政许可受理 通知书》、《补正税务 行政许可材料告知书》、《税务行政许可 不予受理通知书》;2. 申请材料齐全,符合 法定形式,决定受理, 并将有关材料转0.5 个工作日《税务行政许可受理 通知书》《补正税务行政许可材料告知书》《税务行政许可不予 受理通知书》交审查岗。审查岗进行审查并签署审查意见4.5 个工作日《税务事项通知书》《准予税务行政许可决定书》《不予税务行政许可决定书》决定岗审核审查意见并作出决定1 个工作日送达岗送达相关文书1 个工作日(二)审查环节与经办要求1.受理岗及其经办要求审查经办要求环节名称税务』机关受理审查单位税务』机关受理岗责任人税务』机关窗受理岗经办人员职责和权限1.属于本机关职权范围的,申请人提交资料齐全、符合法定形式 的,填写《税务行政许可受理通知书》,并将有关材料转交审查岗; 申请人提交资料不齐全或不符合法定形式的,制作《补正税务行政许 可材料告知书》,一次性告知申请人需补正的内容;2.不属于本机关职权范围的,制作《税务行政许可不予受理通知 书》,告知申请人不予受理的理由;3不需要取得行政许可的,即时告知不受理。・审查内容审查要点:1. 核实申请材料是否齐全;2. 核实申请材料是否符合法定形式。审查方式书面审查。审查程序核对签收 转交审查岗审查结论确正1. 资料齐全、符合法定形式,决定受埋;2. 资料不齐全或不符合法定形式,一次性告知补正;3. 不属于本机关职权范围的,决定不予受理;4不需要取得仃政许可的,不受理。・ A,,」,}审查期限0.5 个工作日内相关文书《税务行政许可受理通知书》《补正税务行政许可材料告知书》《税务行政许可不予受理通知书》备注注意事项...

1、当您付费下载文档后,您只拥有了使用权限,并不意味着购买了版权,文档只能用于自身使用,不得用于其他商业用途(如 [转卖]进行直接盈利或[编辑后售卖]进行间接盈利)。
2、本站所有内容均由合作方或网友上传,本站不对文档的完整性、权威性及其观点立场正确性做任何保证或承诺!文档内容仅供研究参考,付费前请自行鉴别。
3、如文档内容存在违规,或者侵犯商业秘密、侵犯著作权等,请点击“违规举报”。

碎片内容

对纳税人变更纳税定额的核准审查工作细则

您可能关注的文档

确认删除?
VIP
微信客服
  • 扫码咨询
会员Q群
  • 会员专属群点击这里加入QQ群
客服邮箱
回到顶部