电脑桌面
添加小米粒文库到电脑桌面
安装后可以在桌面快捷访问

无锡市惠山区钱桥镇政府藕乐园二期安居房电气工程监理细则VIP专享

无锡市惠山区钱桥镇政府藕乐园二期安居房电气工程监理细则_第1页
1/11
无锡市惠山区钱桥镇政府藕乐园二期安居房电气工程监理细则_第2页
2/11
无锡市惠山区钱桥镇政府藕乐园二期安居房电气工程监理细则_第3页
3/11
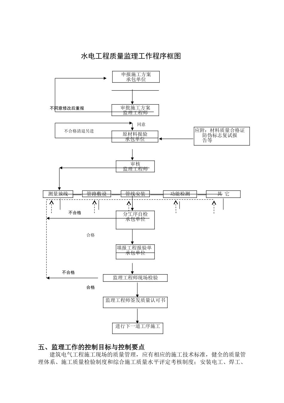
CC1313 无锡市惠山区钱桥镇政府藕乐园二期安居房 工程监理细则监理细则 (电气工程) 内容提要: 专业工程特点监理工作流程 监理工作控制目标及控制要点 监理工作方法及措施 项目监理机构(章): 专业监理工程师: 总监理工程师: 日期: 江苏省建设厅建设监理处监制电气工程施工监理实施细则-、工程概况本工程为普通六层住宅,底层为车库层,六层上部为阁楼层。有 1#—3#房(钱桥建筑公司)、4#—7#房(溧阳五星公司)、8#—11#房(惠山实业公司),其中1#、2#、9#、10#、11#房为二单元,4#—8#房为四单元,3#房为五单元。电气工程包括照明、插座及空调供配电及控制系统;有线电视及电话通讯及对讲系统;防雷保护及接地系统。二、监理依据1、《供配电系统设计法律规范》GB50052-95;2、《低压配电装置及线路设计法律规范》GB50054-95;3、《建筑物防雷设计法律规范》GB50057-94;4、《火灾自动报警系统设计法律规范》GB50116-98;5、《火灾自动报警系统施工及验收法律规范》GB50166-92;6、《建筑工程施工现场供用电安全法律规范》GB50194-93;7、《建筑电气安装工程质量检验评定标准》GB50303-2025;8、《民用建筑电气设计法律规范》JGJ/ T16-92;9、施工招投标文件和建设单位与施工单位签订的工程承包合同;10、某某主体育场施工监理规划;30、经审查批准的设计图纸和有关设计文件。三、专业工程特点:某某中心设有两个电源供电的 10KV 配电中心,在主场内设有四座 10KV/0.4KW 的变电所,分别设在 A、B、C、D 四个区;另外还设有四临时供电的箱式变。各变电所的电源均由 10KV 配电中心供电,采纳电缆沿电缆桥架架空引入变电所。消防电梯、排油烟风机、正压送风机等设备采纳移动式柴油发电机作应急电源;应急照明、防火巻帘等小容量设备采纳 EPS 作应急电源;消防及 BA 控制中心、场地的竞赛计时计分等设备采纳 UPS 作应急电源,要求凡在体育场有竞赛或文娱活动期间,移动式柴油发电机必须配置到位。各区(A 区、B 区、C 区、D 区)的用电设备电源均由各区变电所供给,在无竞赛时,停 A、C 两区变压器。B 区变电所除供 B、C 区用电外,还要供游泳馆、网球中心用电;D 区变电所除 A、D 区用电外还要供热身场及体育公园用电。消防用电采纳专线供电,消防控制室、消防电梯、防排烟风机等的供电在末级配电箱设自动切换装置。根据水暖专业的要求,冷冻泵和冷却泵采纳变频控制,冷水系统除设手动控制外,各设...

1、当您付费下载文档后,您只拥有了使用权限,并不意味着购买了版权,文档只能用于自身使用,不得用于其他商业用途(如 [转卖]进行直接盈利或[编辑后售卖]进行间接盈利)。
2、本站所有内容均由合作方或网友上传,本站不对文档的完整性、权威性及其观点立场正确性做任何保证或承诺!文档内容仅供研究参考,付费前请自行鉴别。
3、如文档内容存在违规,或者侵犯商业秘密、侵犯著作权等,请点击“违规举报”。

碎片内容

无锡市惠山区钱桥镇政府藕乐园二期安居房电气工程监理细则

办公文档专营+ 关注
实名认证
内容提供者

大量办公文档,欢迎选择

确认删除?
VIP
微信客服
  • 扫码咨询
会员Q群
  • 会员专属群点击这里加入QQ群
客服邮箱
回到顶部