电脑桌面
添加小米粒文库到电脑桌面
安装后可以在桌面快捷访问

第十五章-工程质量的保证措施

第十五章-工程质量的保证措施_第1页
1/13
第十五章-工程质量的保证措施_第2页
2/13
第十五章-工程质量的保证措施_第3页
3/13
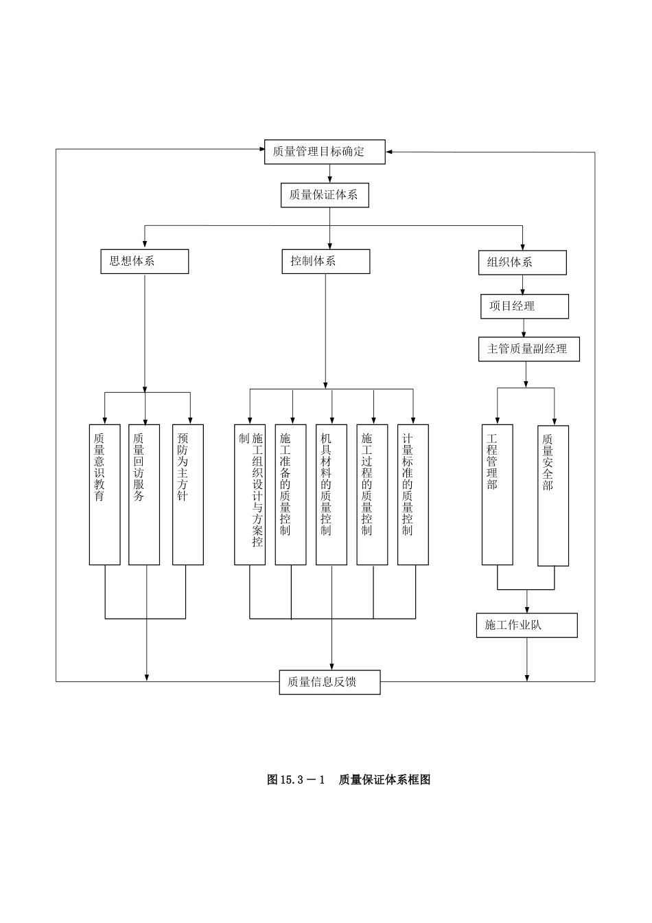
第十五章 工程质量保证措施15.1 质量方针、原则及目标 贯彻执行科学管理、精心施工、过程受控、质量一流的方针,坚持质量第一、质量一票否决、质量重奖重罚原则,确保工程项目达到优良等级。15.2 工程质量的控制标准⑴ GB/T19002-ISO9002 质量保证体系标准;⑵ 合同文件(包括招标文件、技术法律规范等)中明确规定的有关工程质量控制标准; ⑶ 国家和行业有关工程质量的控制标准;⑷ 业主和监理工程师的指令。15.3 施工质量保证体系以质量管理目标为中心,建立思想体系、控制体系和组织体系。思想体系为全员的质量意识教育和管理活动;控制体系为施工全过程、施工各环节、质量检验、测量器具和施工原材料的控制;质量组织体系采纳项目经理领导下的主管副经理负责制,对全部工程最终质量及各工程项目的施工工序进行全方位、全过程的质量监督控制,以试验室、测量队的数据为依据加以现场质检员的监督,实行质量一票否决制度,确保工程质量。质量保证体系如图 15.3-1。图 15.3 - 1 质量保证体系框图质量管理目标确定质量保证体系思想体系控制体系组织体系项目经理主管质量副经理质量意识教育质量回访服务预防为主方针施工组织设计与方案控制施工准备的质量控制机具材料的质量控制施工过程的质量控制计量标准的质量控制工程管理部质量安全部施工作业队质量信息反馈15.3.1 组织机构工程项目部设工程管理部、质量安全部、测量队和试验室,各施工作业队设专(兼)职质检员。内部质量检查组织机构如图15.3-2。15.3.2 质检机构人员配置本工程将配置满足工程需要的质检人员和测量人员,并持有国家认可的上岗证书,具有良好的职业道德和敬业精神,形成一个直接受项目经理领导的独立体系,具有随机监督检查、随机抽样、强制返工、强制停工、驱逐不良施工人员、不予计量支付等的权力。15.3.3 质量检查程序内部质量检查程序参照监理程序进行,有利于与监理工程师配合协调,有效控制质量。质量检查程序是施工现场的质检员全过程监控,加上试验人员随机抽样,通过试验室检测统计,试验工程师报出结果,质检员做出推断的一个认证过程,详见质量检查程序框图 15.3-3。质量安全部试验室测量队施工队专职质检员作业班组兼职质检员图 15.3-2 内部质量检查机构图15.4 工程质量控制点的设置 我公司已获 ISO9002 质量保证体系(国际)标准认证证书。在工程实施过程中,我们将根据该标准和监理工程师的指令,根据《过程控制程序》中所规定的标准...

1、当您付费下载文档后,您只拥有了使用权限,并不意味着购买了版权,文档只能用于自身使用,不得用于其他商业用途(如 [转卖]进行直接盈利或[编辑后售卖]进行间接盈利)。
2、本站所有内容均由合作方或网友上传,本站不对文档的完整性、权威性及其观点立场正确性做任何保证或承诺!文档内容仅供研究参考,付费前请自行鉴别。
3、如文档内容存在违规,或者侵犯商业秘密、侵犯著作权等,请点击“违规举报”。

碎片内容

第十五章-工程质量的保证措施

您可能关注的文档

确认删除?
VIP
微信客服
  • 扫码咨询
会员Q群
  • 会员专属群点击这里加入QQ群
客服邮箱
回到顶部