电脑桌面
添加小米粒文库到电脑桌面
安装后可以在桌面快捷访问

财政部解读内控指引之合同管理

财政部解读内控指引之合同管理_第1页
1/8
财政部解读内控指引之合同管理_第2页
2/8
财政部解读内控指引之合同管理_第3页
3/8
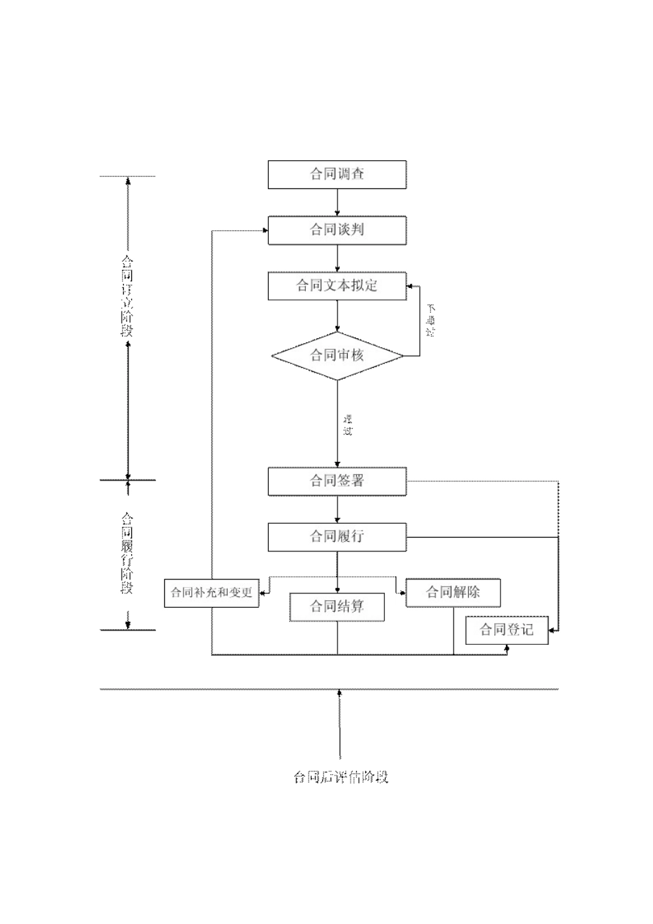
财政部解读企业内控指引之合同管理合同是企业与自然人、法人及其他组织等平等主体之间设立、变更、终止民事权利义务关系的协议。加强合同管理,有利于法律规范、约束市场主体交易行为,优化资源配置,维护市场秩序。制定和实施《企业内部控制应用指引第 16号—— —合同管理》,旨在法律规范合同双方当事人的经营行为,帮助企业维护自身合法权益、防控法律风险,促进实现内部控制目标。本文就此进行解读。 一、合同管理的总体要求 企业需要建立一系列制度体系和机制保障,促进合同管理的作用得到有效发挥。 (一)建立分级授权管理制度 企业应当根据经济业务性质、组织机构设置和管理层级安排,建立合同分级管理制度。属于上级管理权限的合同,下级单位不得签署。对于重大投资类、融资类、担保类、知识产权类、不动产类合同,上级部门应加强管理。下级单位认为确有需要签署涉及上级管理权限的合同,应当提出申请,并经上级合同管理机构批准后办理。上级单位应当加强对下级单位合同订立、履行情况的监督检查。 (二)实行统一归口管理 企业可以根据实际情况指定法律部门等作为合同归口管理部门,对合同实施统一法律规范管理,具体负责制定合同管理制度,审核合同条款的权利义务对等性,管理合同标准文本,管理合同专用章,定期检查和评价合同管理中的薄弱环节,实行相应控制措施,促进合同的有效履行等。 (三)明确职责分工 企业各业务部门作为合同的承办部门负责在职责范围内承办相关合同,并履行合同调查、谈判、订立、履行和终结责任。企业财会部门侧重于履行对合同的财务监督职责。 (四)健全考核与责任追究制度 企业应当健全合同管理考核与责任追究制度,开展合同后评估,对合同订立、履行过程中出现的违法违规行为,应当追究有关机构或人员的责任。 二、合同管理流程 合同管理从大的方面可以划分为合同订立阶段和合同履行阶段。合同订立阶段包括合同调查、合同谈判、合同文本拟定、合同审批、合同签署等环节;合同履行阶段涉及合同履行、合同补充和变更、合同解除、合同结算、合同登记等环节。下图列示的合同管理流程具有一定的通用性。 三、合同各环节的主要风险点及管控措施 (一)合同调查 合同订立前,企业应当进行合同调查,充分了解合同对方的主体资格、信用状况等有关情况,确保对方当事人具备履约能力。该环节的主要风险是:忽视被调查对象的主体资格审查,对方当事人不具有相应民事权利能力和民事行为能力,或不...

1、当您付费下载文档后,您只拥有了使用权限,并不意味着购买了版权,文档只能用于自身使用,不得用于其他商业用途(如 [转卖]进行直接盈利或[编辑后售卖]进行间接盈利)。
2、本站所有内容均由合作方或网友上传,本站不对文档的完整性、权威性及其观点立场正确性做任何保证或承诺!文档内容仅供研究参考,付费前请自行鉴别。
3、如文档内容存在违规,或者侵犯商业秘密、侵犯著作权等,请点击“违规举报”。

碎片内容

财政部解读内控指引之合同管理

您可能关注的文档

范哲铺+ 关注
实名认证
内容提供者

想你所想,急你所急,你需要的都在店铺里可以找到。

确认删除?
VIP
微信客服
  • 扫码咨询
会员Q群
  • 会员专属群点击这里加入QQ群
客服邮箱
回到顶部