电脑桌面
添加小米粒文库到电脑桌面
安装后可以在桌面快捷访问

7个流程图+审查调查工作事项一览表31458VIP专享

7个流程图+审查调查工作事项一览表31458_第1页
1/29
7个流程图+审查调查工作事项一览表31458_第2页
2/29
7个流程图+审查调查工作事项一览表31458_第3页
3/29
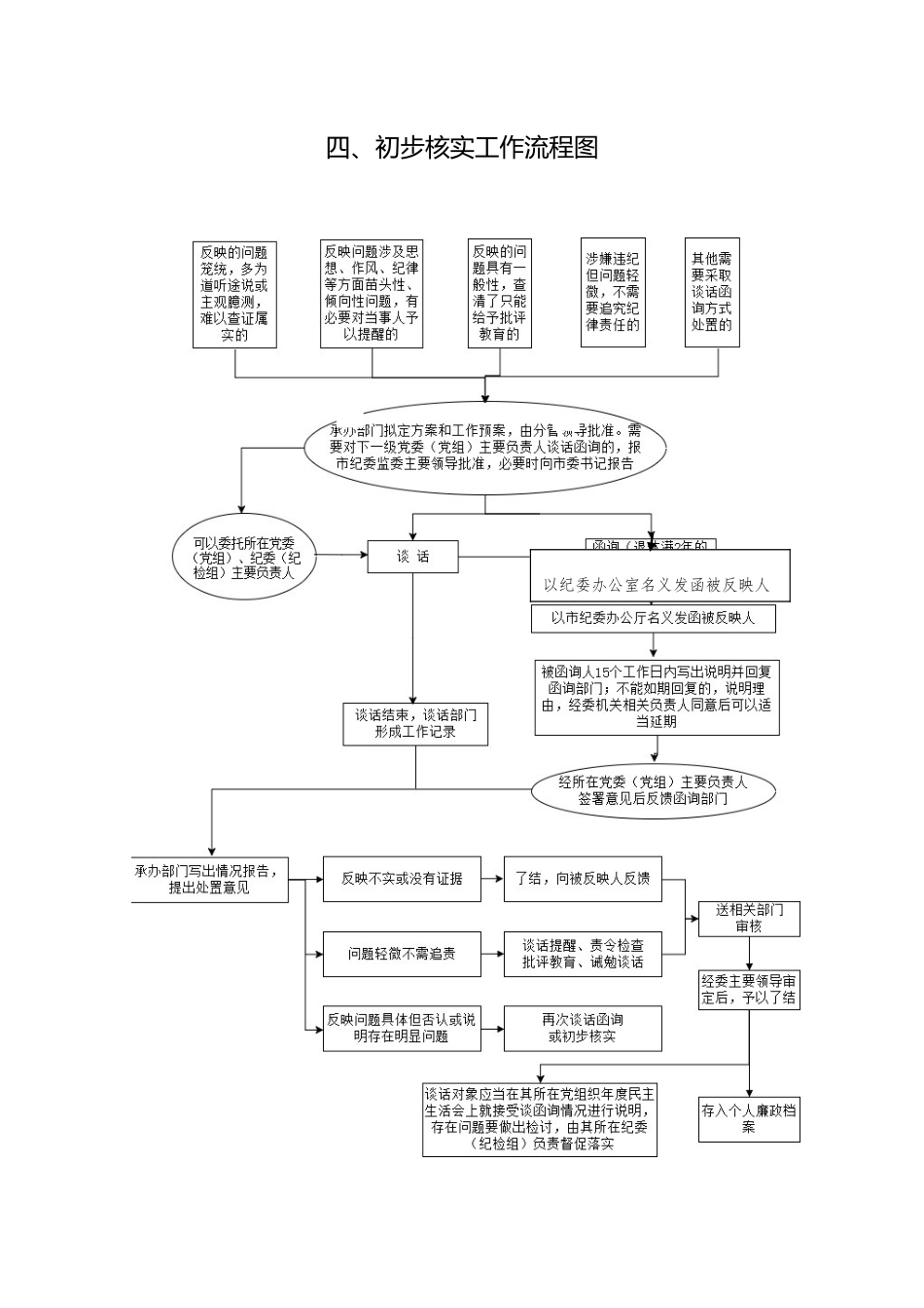
市纪委监委机关审查调查工作流程图一、审查调查工作全流程图二、线索处置工作流程图三、谈话函询工作流程图向省纪委监委报告线素及处置情况。范围为:管干部,委委员 纪委常委,监委委员,街镇、部门主要负责人定期汇总线索处置情况向纪委监委机关主要领导报告四、初步核实工作流程图纪以纪委办公室名义发函被反映人五、立案审查工作流程图六、使用留置措施工作流程图区七、线索分办工作流程图市 纪 委 监 委 机 关 审 查 调 查 工 作 事 项 一 览 表( 供 具 体 操 作 时 参 考 )( 一 ) 初 核 阶 段序号工 作 事 项责 任部 门责 任领 导相 关 要 求1召 开 室 务 会 , 集 体 讨 论 线 索 处 置 方 案 .承 办室部 门负 责人2组 建 初 步 核 实 组 , 明 确 组 长 和 分 工 .承 办室部 门负 责人报 委 分 管领 导 审 批3分 析 研 判 线 索 来 源 ( 属 实 名 举 报 的 , 与 举 报 人联 系 , 进 一 步 了 解 举 报 内 容 ) 。核 查组部 门负 责人4分 析 线 索 反 映 的 问 题 、 主 要 疑 点 和 核 查 难 点 。核 查组部 门负 责人5了 解 被 反 映 人 的 主 体 身 份 , 是 否 是 党 员 、 监 察对 象 , 是 否 是 “ 两 代 表 一 委 员 " 。核 查组部 门负 责人6了 解 被 反 映 人 的 基 本 情 况 , 包 括 家 庭 情 况 、 婚姻 状 况 等 。核 查组部 门负 责人7查 阅 被 反 映 人 的 体 检 报 告 , 了 解 其 身 体 状 况 .核 查部 门组负 责人8了 解 被 反 映 人 的 工 作 经 历 、 职 责 范 围 , 以 及 信访 举 报 、 纪 律 处 分 、 组 织 处 理 、 年 度 考 核 、 群众 口 碑 等 情 况 .核 查组部 门负 责人9集体讨论初步核实的时间、步骤、方法和措施 .承 办室部 门负 责人10起 草 初 步 核 实 方 案 报 批 。 方 案 包 括 : 1. 线 索 来源 、 被 核 查 人 基 本 情 况 、 反 映 的 问 题 和 可 能 涉嫌 违 纪 违 法 犯 罪 的 问 题 ; 2. 初 步 核 实 的 目 的 、方 向 、 范 围 、 以 及 需 要 重 点 查 明 的 问 题 ;3 。 初步 核 实 的 时 间 、 ...

1、当您付费下载文档后,您只拥有了使用权限,并不意味着购买了版权,文档只能用于自身使用,不得用于其他商业用途(如 [转卖]进行直接盈利或[编辑后售卖]进行间接盈利)。
2、本站所有内容均由合作方或网友上传,本站不对文档的完整性、权威性及其观点立场正确性做任何保证或承诺!文档内容仅供研究参考,付费前请自行鉴别。
3、如文档内容存在违规,或者侵犯商业秘密、侵犯著作权等,请点击“违规举报”。

碎片内容

7个流程图+审查调查工作事项一览表31458

文森传品+ 关注
实名认证
内容提供者

一家传播文化教育的小店,资料丰富,随意挑选。

确认删除?
VIP
微信客服
  • 扫码咨询
会员Q群
  • 会员专属群点击这里加入QQ群
客服邮箱
回到顶部