电脑桌面
添加小米粒文库到电脑桌面
安装后可以在桌面快捷访问

万科物业管理费催缴诉讼指引

万科物业管理费催缴诉讼指引_第1页
1/3
万科物业管理费催缴诉讼指引_第2页
2/3
万科物业管理费催缴诉讼指引_第3页
3/3
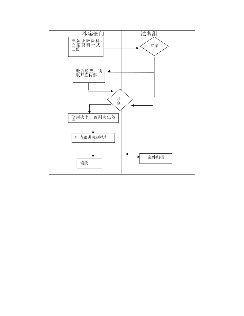
1.目的梳理催缴管理费的流程,使物业公司初步掌握诉讼要点,及时办理管理费催缴诉讼事务.2。范围适用于公司各物业服务中心。3。职责3.1 物业服务中心指定专人(客服或财务人员),负责“管理费催缴”案件的事务性工作(包括但不限于资料整理、复印、提交、诉讼费缴纳、传票领取、参加开庭、领取判决、申请执行)的跟进处理。3。2 公司法务人员负责物业服务中心管理费催缴诉讼的统筹和指导、重要证据搜集、出庭诉讼工作.4。诉讼原则4。1 欠费 3 个月且经催缴无效的,可向公司申请发送催缴律师函.4.2 欠费 6 个月以上且经催缴无效的,应该在第三次催缴完成后 5 个工作日内提交公司申请诉讼追缴。5。 处理方法和过程控制5。1 诉前准备阶段:5。1。1 服务中心提供的证据材料(一式三份)序号证据清单证明事项备注1被告身份证/营业执照被告主体资格复印件2商品房买卖合同被告作为业主的主体资格及管理费缴纳主体的资格复印件3房屋交付使用通知书房屋已交付复印件4业主资料卡被告信息复印件5委托银行代收款协议业主按期缴纳管理费的承诺复印件6业主公约业主对遵守小区管理制度的承诺复印件7欠费清单被告欠费具体金额及区间原件8车位租用/服务协议书拖欠车位服务费复印件9催缴记录公司履行催告义务的证明复印件或照片10代缴水、电等费用发票公司代缴的事实及具体金额复印件5.1.2 公司提供的证据材料序号材料清单证明事项备注1民事起诉状具体诉讼请求、事实与理由原件一式三份2营业执照原告主体资格复印件盖公章3组织机构代码证原告主体资格复印件盖公章4物业服务企业资质证书原告主体资格复印件盖公章5法定代表人身份证明书原告法定代表人信息原件6授权委托书代理权限原件7被授权人身份证代理人身份证明复印件5.2 诉讼流程:5.2.1 服务中心提供的证据材料一式三份,由法务人员提交至项目所在地基层法院(区法院)立案庭办理立案手续;5.2。2 法务人员取得“缴费通知书”后,在规定时间内缴纳诉讼费,并将发票之“附卷联”交回立案窗口;4。2.3 接法院通知后,法务人员或服务中心指定的专人至法院取开庭传票据;4。2。4 部门经办人员与公司法务人员共同出庭参加诉讼;4。2.5 接法院通知后,法务人员或服务中心指定的专人至法院领取判决;法院寄交判决的,应该在法院规定的时间内将送达回证以快递的形式寄交法院。4.2.7 若一方上诉,按法院通知领取传票并参加庭审;4。2.8 法务人员或服务中心指定的专人领取二审判决;4.3 执行阶段:4.3.1 如...

1、当您付费下载文档后,您只拥有了使用权限,并不意味着购买了版权,文档只能用于自身使用,不得用于其他商业用途(如 [转卖]进行直接盈利或[编辑后售卖]进行间接盈利)。
2、本站所有内容均由合作方或网友上传,本站不对文档的完整性、权威性及其观点立场正确性做任何保证或承诺!文档内容仅供研究参考,付费前请自行鉴别。
3、如文档内容存在违规,或者侵犯商业秘密、侵犯著作权等,请点击“违规举报”。

碎片内容

万科物业管理费催缴诉讼指引

您可能关注的文档

确认删除?
VIP
微信客服
  • 扫码咨询
会员Q群
  • 会员专属群点击这里加入QQ群
客服邮箱
回到顶部