电脑桌面
添加小米粒文库到电脑桌面
安装后可以在桌面快捷访问

必修三教学设计 3.1 全球定位系统的应用(1课时)VIP免费

必修三教学设计 3.1 全球定位系统的应用(1课时)_第1页
1/2
必修三教学设计 3.1 全球定位系统的应用(1课时)_第2页
2/2
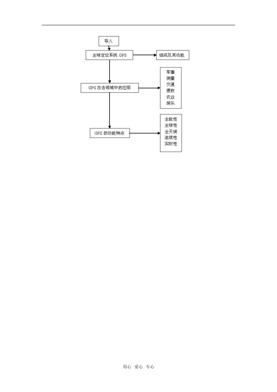
北京市高中地理新课程教学设计(中图版必修3)【课题】第三章地理信息技术的应用第一节全球定位系统的应用【课标】举例说明全球定位系统(GPS)在定位、导航中的应用【学习目标】1.利用相关资料说出全球定位系统(GPS)由哪几部分组成及各组成部分的作用2.举例说明全球定位系统(GPS)的主要功能及其在各领域中的应用3.利用相关案例说出全球定位系统(GPS)的特点【重点、难点】全球定位系统在各领域中的应用【教学资源】多媒体教学课件【学时】1学时【教学过程】教学环节教师活动学生活动1.导入设置遇难情景,导入新课讨论、发言2.全球定位系统的组成及各部分的作用展示相关资料,介绍全球定位系统的组成及各部分的作用观看思考3.GPS在各领域中的应用组织学生展示案例,分析GPS在各领域中的应用学生分组展示课前搜集的GPS在各领域中应用的案例4GPS在各领域中的应用特点请同学们概况总结GPS在各领域中的应用特点教师总结学生发言概况总结、发言5小结课堂总结、巩固练习倾听、思考、练习【板书设计】第一节全球定位系统用心爱心专心用心爱心专心

1、当您付费下载文档后,您只拥有了使用权限,并不意味着购买了版权,文档只能用于自身使用,不得用于其他商业用途(如 [转卖]进行直接盈利或[编辑后售卖]进行间接盈利)。
2、本站所有内容均由合作方或网友上传,本站不对文档的完整性、权威性及其观点立场正确性做任何保证或承诺!文档内容仅供研究参考,付费前请自行鉴别。
3、如文档内容存在违规,或者侵犯商业秘密、侵犯著作权等,请点击“违规举报”。

碎片内容

必修三教学设计 3.1 全球定位系统的应用(1课时)

您可能关注的文档

;绿洲书城+ 关注
实名认证
内容提供者

从事历史教学,热爱教育,高度负责。

确认删除?
VIP
微信客服
  • 扫码咨询
会员Q群
  • 会员专属群点击这里加入QQ群
客服邮箱
回到顶部