电脑桌面
添加小米粒文库到电脑桌面
安装后可以在桌面快捷访问

公路绿化工程监理实施细则资料VIP专享VIP免费

公路绿化工程监理实施细则资料_第1页
1/26
公路绿化工程监理实施细则资料_第2页
2/26
公路绿化工程监理实施细则资料_第3页
3/26
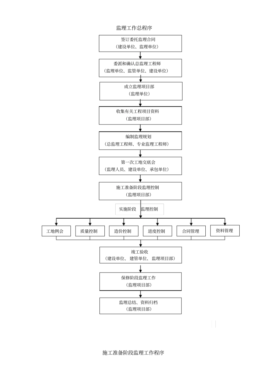
一、工程概况1、工程名称:2、监理范围:3、监理内容:施工质量控制、进度控制、协助业主进行投资控制及安全文明施工管理4、设计单位:5、施工单位:6、工程工期:2014年4月10日~2014年5月30日二、监理依据1、监理委托合同及工程承包合同2、施工设计图纸、设计说明、变更设计图纸3、《建设工程监理规范》(GB50319-2013)4、《城市道路绿化规程与设计规范》(CJJ75-97)5、《园林植物栽植技术规程》(DBJ08-18-91)6、《园林植物养护技术规程》(DG/TJ08-19-2011)7、《园林植物保护技术规程》(DBJ08-35-94)8、《行道树栽植技术规程》(DBJ08—53—96)9、《大树移植技术规程》(DBJ08-53-96)10、《草坪建植和草坪养护管理的技术规程》(DBJ08-67-97)11、《园林栽植土质量标准》(DBJ08-231-98)12、《园林工程质量检验评定标准》(DG/TJ08-701-2000)13、《建筑工程施工质量验收统一标准》(GB50300-2013)14、《城市绿化工程施工及验收规范》(CJJ/T82-2012)三、监理工作流程监理工作总程序施工准备阶段监理工作程序签订委托监理合同(建设单位、监理单位)委派和确认总监理工程师(监理单位、监管单位、建设单位)成立监理项目部(监理单位)收集有关工程项目资料(监理项目部)编制监理规划(总监理工程师、专业监理工程师)第一次工地交底会(监理人员、建设单位、承包单位)施工准备阶段监理控制(监理项目部)工地例会质量控制造价控制进度控制合同管理资料管理竣工验收(建设单位、建管单位、监理项目部)保修阶段监理工作(监理项目部)监理总结、资料归档(监理项目部)实施阶段监理控制质量控制工作程序熟悉、检查设计文件(全体监理人员)参加设计技术交底(总监理工程师/代表、专业监理工程师)签署《工程开工报审表》(总监理工程师)参加第一次工地会议(总监理工程师/代表、专业监理工程师)审查施工组织设计(方案)(总监理工程师)审查承包单位现场管理体系(总监理工程师/代表)审查分包单位资格(专业监理工程师)检查测量放线控制成果(专业监理工程师)检查开工准备情况(专业监理工程师)隐蔽工程验收流程组织新材料、新工艺、新技术、新设备专题认证(专业监理工程师)签认施工工艺、施工措施(专业监理工程师)复核测量放线成果(专业监理工程师)检查承包单位计量设备(专业监理工程师)材料、构配件、设备质量控制(专业监理工程师)考核承包单位试验室(专业监理工程师)审查施工组织设计(方案)变更文件(专业监理工程师)审核重点部位、关键工序施工措施(专业监理工程师)签认施工组织设计(方案)变更文件(总监理工程师)抽查、巡视检查、旁站监督(专业监理工程师、监理员)签认隐蔽工程报验申请(专业监理工程师)审核、签认分项工程质量验评资料(专业监理工程师)施工测量放线监理查验程序质保资料完整合格隐蔽工程验收自检合格自检合格施工承包方施工承包方填报报验申请表监理在报验申请表上签认同意意见施工承包方进行下道工序施工施工承包方整改否可监理对隐蔽工程及分项工程质量检查及验收进度控制工作程序监理审核承包商测量放样(计算)填报报验申请表监理复测校核进入下道工序承包商测量放样准备工作,熟悉图纸,按图对数据进行校核,制订测量及放样方案。合格不合格不同意安全施工监管工作程序签订承发包合同建设单位与施工单位编制施工总进度计划施工单位审查施工总进度计划监理单位编制年、季、月度实施计划施工单位审查实施计划监理单位组织实施进度计划施工单位检查计划实施情况监理单位修改实施进度计划实际值与计划值比较同意不同意同意不同意有偏差根据总进度控制计划,编制下期实施性进度计划施工单位根据形象计划编写月报监理单位交工监理工作程序编制安全和文明施工监理计划和监理规则检查安全管理网络、技术交底安全措施落实情况安全事故处理程序/监理参加定期安全检查有无不安全因素?监理发全整改通知单承包商整改监理复查整改合格正常施工有无安全事故无有有否处理事故,制定整改措施,消除事故监理检查事故处理结果符合要求审查承包商安全计划和安全措施继续施工无是是单位工程验收监理工作程序提交交工申请报告(...

1、当您付费下载文档后,您只拥有了使用权限,并不意味着购买了版权,文档只能用于自身使用,不得用于其他商业用途(如 [转卖]进行直接盈利或[编辑后售卖]进行间接盈利)。
2、本站所有内容均由合作方或网友上传,本站不对文档的完整性、权威性及其观点立场正确性做任何保证或承诺!文档内容仅供研究参考,付费前请自行鉴别。
3、如文档内容存在违规,或者侵犯商业秘密、侵犯著作权等,请点击“违规举报”。

碎片内容

公路绿化工程监理实施细则资料

确认删除?
VIP
微信客服
  • 扫码咨询
会员Q群
  • 会员专属群点击这里加入QQ群
客服邮箱
回到顶部