电脑桌面
添加小米粒文库到电脑桌面
安装后可以在桌面快捷访问

PUMA560型机器人VIP免费

PUMA560型机器人_第1页
1/7
PUMA560型机器人_第2页
2/7
PUMA560型机器人_第3页
3/7
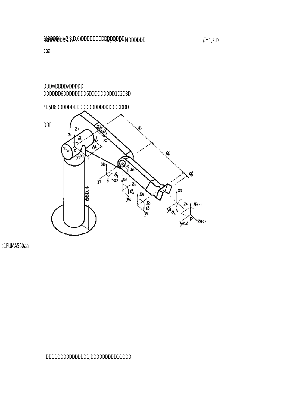
DDDDDDDD3DDDDDDDDDDDa2,DD1DDD2DDDDDDD□□PUMA560叮DDD,DDDDDDDD,DDDDDDDDDDDDDDDDD,PUMA-560DDDDDDDDDDDDDD,DDDDDDDDDDDDDDDDDDDD,DDDDDDDDPUMAD560DDDDDDDDDD(DD)DDDDDDDDDDDDDDDDDDDD(DD):6DDDD;DDDDDDDDDDDDDDDDD;DDDDDDD2kg(DDDDDDD);DDDDDD60N;DDDDDDo.lmm;DDDDDDDDDDD:DDDDDD1.0m/s,DDDDDD0.5m/s,DDDDDDDDDDDDD19;DDDDDDDDDDDDDo.92mDDDDDDDD;DDDDDDDDDDDDDDDDDDD;DDDDDDDDDDDDD,DDDDDD41.3mmDDD4-MSDDDD;DDDDD53kgDPUMA-560DDDDDDDDDPUMA-560DDDDDDDDDDDD,6DDDDDDDDDDDD3DDDDDDDDDDDDD,DD3DDDDDDDDDDDDDDDDDDDDDD3DDDDDDDDDDDD1DDDDDDDD,DD2DDPUMA-560DDDDDDDDD,DDDDDDDDDDDDDDDDDDDDDDDDDDDDDDDDDDDD,DDDDDDDDDDDDDDDDDDDDDDDDDDDDDDDD1DDDPUMA560DDDDD6DDDDDDDDDDDDO—xyzDDDDd2,DD3D4DxDDDDDDDd4DPUMA—560DDDDDDDD1,DDDDDDDDDDDDDDD1DDUMA—560DDDDDD表1机械臂的连杆参数iSiSi(h4100°0()|20-90°(1nX02300«34-90°O45090°00560-90°006□□PUMA560叮叮DD3DDD4DDDDDDD,DDDa3DDD1D2DxDDDDDDDDDDDDDDDDDD,DDDDDDDDDDDDDDDDDDDDDDD,a2,a3,d2,d4DDDDDD(i=1,2,D6)DDDDa(i=2,3,D,6)DDDDDDDDDDDDDDDaaaDDDwDDDDvDDDDDDDDDDD6DDDDDDDD6DDDDDDDDD1D2D3D4D5D6DDDDDDDDDDDDDDDDDDDDDDDDDDDDD{滋03D04DC4C5C4C5L]+1)3fl2S23-axC!C23-CM1C23-S4S5€6+C4S6S4S5S6+C4C6—54C5—S4C5L\C5C6一€586—55—ssL,i+d4+0001—7lzC23—llxC1523—llyS1S23—OzC^—OxC\523-OyS\523nx8}一nyCiOXS]-OyCXHz523—Z?XC1C23—"声1C乃OZS23—f"心-fI(?23-()07xCl$23—ayS\523(dl+hi—p:)C23—(/>xC1-卜p)S1)523+厶3C31-®c1"41一prc\+ds+di+h\/」i二d&+hs〈厶2二d4+h玉+/>4;ss=sin(()2+9s);cs=cos(82+二3二ci2—仇DDDDD:p^s\-prC]+(h+di+hi=(axs\-ayc1)A1DDDDDDDDDD:(pz—d\—b1—asL1)C23+(px^\+pi—%Ci厶1—dyS'L1)53+=L3C3I(pz-d\-b1-ClzL1)523-(pxCl4-pySl-flxClLl-UyS]L1)C3-Ll-L353DDDDDDDDDDR-—审23DDD1)4(〃1+l)\—pz)s23—(PxC1+PyS\)C23-厶3S3—Il3-仏f?23-砂nxc}5+nrS]C^-(hSS-OxCICS-OvSI€230D,DDDDDDDDDDPUMA560DDDDDDDDDDDDDDDDDDDDDD-]已-1ax€]C23+arS\C23-林23tan—=tailC5C5(1x8]—(lyCI目标坐标基座{0坐标1(Pz-〃1一b\—a;;厶i)$23—(P%ci+pyS、一a^ci厶i—[厶1)c23—厶(化—小一b\-fizLi)(?23+(卩工1+—axc\L\-厶I).$23+o1000A0000/\xoo□©ataila(2di+b\—0.0,h\+eh+d3二149.09,b3二2032,h玉+(1-4+b4=433.07,叽一bi二-43k&力5+de—56*25DDDDDDD:45650-0.4753-0.6745-33(X412_0.68960.72080069756.2007.04530-0,504507350744.957-DDDDDDDDDDDD:()]二19.984匚02=10JH67.03=32.597心04=66.7208°,()5二105.475\06=142.妙□□□□DPUMA560DDDDDDDDDDDDDDDDDDDD,DDDDDDDDDDD.DDDDDDDDDDDDDDD,DDDDDDDDDDD,DDDDDD,DDDDDDD

1、当您付费下载文档后,您只拥有了使用权限,并不意味着购买了版权,文档只能用于自身使用,不得用于其他商业用途(如 [转卖]进行直接盈利或[编辑后售卖]进行间接盈利)。
2、本站所有内容均由合作方或网友上传,本站不对文档的完整性、权威性及其观点立场正确性做任何保证或承诺!文档内容仅供研究参考,付费前请自行鉴别。
3、如文档内容存在违规,或者侵犯商业秘密、侵犯著作权等,请点击“违规举报”。

碎片内容

PUMA560型机器人

wxg+ 关注
实名认证
内容提供者

该用户很懒,什么也没介绍

确认删除?
VIP
微信客服
  • 扫码咨询
会员Q群
  • 会员专属群点击这里加入QQ群
客服邮箱
回到顶部