电脑桌面
添加小米粒文库到电脑桌面
安装后可以在桌面快捷访问

信捷PLC在伺服控制系统中的使用VIP免费

信捷PLC在伺服控制系统中的使用_第1页
1/8
信捷PLC在伺服控制系统中的使用_第2页
2/8
信捷PLC在伺服控制系统中的使用_第3页
3/8
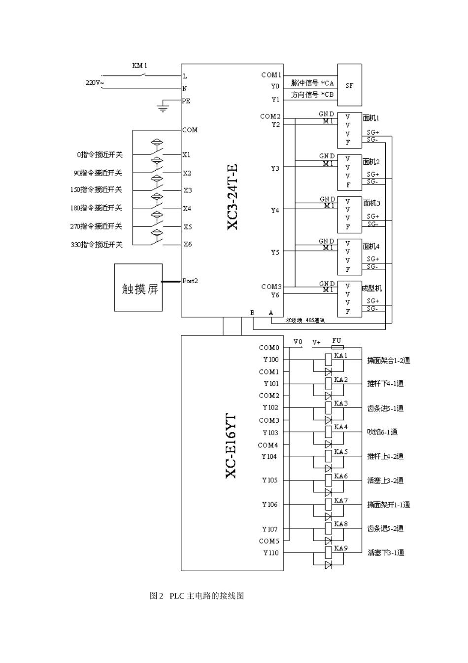
信捷PLC在伺服控制系统中的使用【摘要】在自动控制领域PLC被越来越多的使用,其中信捷PLC是企业中用得较多的一种国产PLC。本文对信捷PLC与变频器、触摸屏及伺服驱动器的连接及通信进行设计分析。【关键词】信捷PLC变频器伺服控制控制系统在自动控制领域PLC被越来越多的使用,其中信捷PLC是企业中用得较多的一种国产PLC,它无论在硬件上还是在编程语言上都与三菱PLC相似。本文以产品饺子机为例,对信捷PLC与变频器、触摸屏及伺服驱动器的连接及通信进行设计分析。一、饺子机的主电路设计1、饺子机工作过程将和好的面放入面料斗→馅料斗装好馅→启动4台面机(可以单独启动也可以同时一起启动,均为正转,速度可调)→启动成型机→撕面架合、推杆下→齿条进、吹馅→活塞上、推杆上、撕面架开→齿条退→活塞杆下。以上动作均由气动控制,动作命令由成型电机轴上带动的转盘上的传感器按照一定的时序发给PLC,由PLC来控制相应的电磁阀及伺服电机。2、饺子机的主电路(图1)(控制电路略)图1饺子机的主电路二、硬件设备的选用及接线本产品使用的设备有信捷的PLC、台达的触摸屏、台达的变频器、富士的伺服驱动等等。1、信捷PLC(XC3-24T-E+XC-E16YT)XC3-24T-EPLC是晶体管输出型,有14点输入、10点输出;XC-E16YT是16点晶体管输出的扩展模块。点数选择是根据实际控制要求外加一定的余量选用的,因为控制过程中需要高速脉冲输出,控制线圈得、失电比较频繁,所以选晶体管输出形式。2、台达变频器(VFD-M)台达变频器在本设计中主要作用是控制四台面机及成型机的转速而且需要随时调速,利用485通讯修改频率参数。RS-485是一种应用十分广泛的通信协议,其显著特点是信号采用“差分”的方式传送,因此抗干扰能力很强,通信距离也比RS-232要远得多,RS-485的通信方式一般都是半双工的。3、台达触摸屏(DOP-A-80)台达触摸屏由触摸检测部件和触摸屏控制器组成;触摸检测部件安装在显示器屏幕前面,用于检测用户触摸位置,接受后送触摸屏控制器;而台达触摸屏控制器的主要作用是从触摸点检测装置上接收触摸信息,并将它转换成触点坐标,再送给CPU,它同时能接收CPU发来的命令并加以执行。4、富士伺服驱动(FALDIC-W)伺服电机不能直接接到交流电源上工作,必须使用专用的伺服放大器。伺服放大器可以通过控制脉冲的个数来控制电机的转速或角位移,从而达到准确定位的目的;同时通过控制脉冲频率来控制伺服电机的转动速度和加速度,从而达到调速的目的。本例中伺服放大器接受PLC发送的指令,按PLC的控制要求来驱动伺服电机工作。根据控制要求得到PLC主电路的接线如图2图2PLC主电路的接线图三、软件设计及参数设置1、触摸屏信捷XC3-24T-EPLC共有四个通信口,其中通信口2可以接RS-232/RS485、联网或连接智能仪表及变频器。本设计的触摸屏接在port2上。并根据要求设置好触摸屏的参数,根据厂方要求通过编程控制或显示相应的数据。2、变频器1)变频器与PLC的接线本例共使用了五个变频器,分别通过PLC的Y2-Y6来控制变频器。在PLC与变频器通信时,可将图3中的M0-M5根据情况接在PLC的输出端,将变频器的GND端接在PLC相应的COM端。PLC的RS485通讯口引脚A为“+”信号、B为“-”信号,与变频器连接时,A接SG+,B接SG-。XC系列可编程控制器的RS485通讯口和RS232的通讯口2(Port2)是同一个通讯口,因此同时只能使用其中一个,这两个通讯口不能同时使用。图3松下变频器的部分外部接线图2)变频器的参数设置参数号差数值P76950HZ初始化0003第一频率由RS485输入。0101第一运行指令来源由外部端子操作,STOP有效。8801通讯地址为01-05站(五个变频器分别设置一个)8902传输速度192009204ModbusRTU模式,通讯资料格式8,E,13)485通讯程序主要指令注释:本例中s2.为K2,即RS485通讯口2;s1.为本地发送寄存器的首地址,D4000-D8000具有掉电记忆功能的存储器,本例中分别用了D4399、D4410、D4411、D4412和D4413四个存储器;D2.为远端寄存器手编号,为port2中的FD8221中的数据;D1.为远端通讯局号为p88的port2,所以为K2;特殊辅助继电器注释:串口2M8135接收不完整标志接收正常结束,但接受到的数据个数少于需接受的个数...

1、当您付费下载文档后,您只拥有了使用权限,并不意味着购买了版权,文档只能用于自身使用,不得用于其他商业用途(如 [转卖]进行直接盈利或[编辑后售卖]进行间接盈利)。
2、本站所有内容均由合作方或网友上传,本站不对文档的完整性、权威性及其观点立场正确性做任何保证或承诺!文档内容仅供研究参考,付费前请自行鉴别。
3、如文档内容存在违规,或者侵犯商业秘密、侵犯著作权等,请点击“违规举报”。

碎片内容

信捷PLC在伺服控制系统中的使用

文章天下+ 关注
实名认证
内容提供者

各种文档应有尽有

确认删除?
VIP
微信客服
  • 扫码咨询
会员Q群
  • 会员专属群点击这里加入QQ群
客服邮箱
回到顶部