炼铁一厂喷煤系统工艺流程图及概述 山西中阳钢铁有限公司一体系升级改造项目高炉工程制粉喷吹系统,制粉、收粉系统全部利旧;干燥系统除热...
喷涂工艺流程待喷涂产品除锈1、对工件表面进行除锈,如用铲刀、钢丝刷、动力砂纸盘或手磨砂轮等除锈工具;2、根据锈蚀等级,公司选用C级及...
啤酒生产工艺流程图 啤酒生产工艺流程可以分为制麦、糖化、发酵、包装四个工序。现代化的啤酒厂一般已经不再设立麦芽车间,因此制麦部分也...
机密 第 1 页 贵客来商贸连锁有限公司 第1页,共27页 贵客来连锁管理系统 业务运作流程及岗位工作手册 机密 第 2 页 贵客来商...
商装审批流程图(专柜图纸)及说明 流程图 1 2 3 4 5 6 7 流程说明: 一、审图标准:(各部审签内容以平面图为准) 1、营运部:...
成立筹备小组市场调研收集资料市场论证筹备计划书效益论证工作进度表政策论证商品布局图风险论证筹备流程图管理考核培训 成立招商筹备处招...
1.质量控制管理工作流程图B技术副总C品研部D相关部门A总经理单位开始制定《QAP》审核审批分发文件签收文件贯彻执行现场巡视发现问题协助组...
1.质量控制管理工作标准 任务 名称 节点 任务程序、重点及标准 时限 相关资料 制定《质量控制操作规程》 C2 B2 A2 程序 一....
客诉处理流程客户投诉作业流程客 户不满意无效有效满意8.2MRB会议流程:供应商相关部门总经理品质部工程,工艺品质工程师发生客户投诉(不...
无锡济民可信山禾药业 股份有限公司 文件编号 制字2 0 0 8 [ 号] 版 本 号 2 0 0 8 第 2 版本 生效日期 年 月 日 ...
1 员工入职、调动、离职流程 为规范公司劳动人事管理,明确人事管理工作的各项职责,使部门之间业务流程标准化,特制定本流程。 第一部...
办 公 设 备 、邮箱、网络权限申请流程图 一、部门新增办公设备申请流程: 申请人填写文件申请 交由部门经理签字 信息部经理审核批...
后厨各岗位工作流程图 一、 厨师长 吃工作餐下班。 17:00 17:30-18:00 18:00-20:30 20:30-21:00 21:00-21:30 21:30 下午 晚例...
合并会计报表编制流程图
合同管理制度范本与流程图 1 、 合同授权审批制度 制度名称 合同授权审批制度 受控状态 文件编号 执行部门 监督部门 考证部门 ...
- 1 - 合 同 管 理 制 度 范 本 与 流 程 图 1 、 合 同 授 权 审 批 制 度 制 度 名 称 合 同 授 权 审...
合同授权审批制度 第1 章 总则 一、为明确企业合同审批权限,规范企业合同订立行为,加强对合同使用的监督,防范和降低因合同的签订给...
农民专业合作社设立登记流程图 1、设立登记申请书; 2、全体设立人签名、盖章的设立大会纪要; 3、全体设立人签名、盖章的章程; 4、法...
九病区护理操作流程图与评分标准 一、备用床 (一)备用床流程图 携用物至床旁 ↓ 移开桌椅 移开床旁桌20cm,椅放于床尾 ↓ 翻转褥...
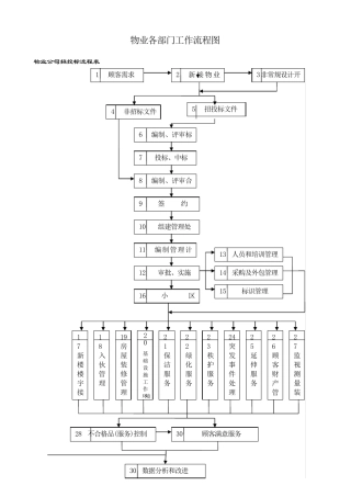
物业各部门工作流程图 物业公司招投标流程表 1 顾客需求 7 投标、中标 6 编制、评审标5 招投标文件 4 非招标文件3非常规设计开2...

