电脑桌面
添加小米粒文库到电脑桌面
安装后可以在桌面快捷访问

机械优化设计复合型法

机械优化设计复合型法_第1页
1/8
机械优化设计复合型法_第2页
2/8
机械优化设计复合型法_第3页
3/8
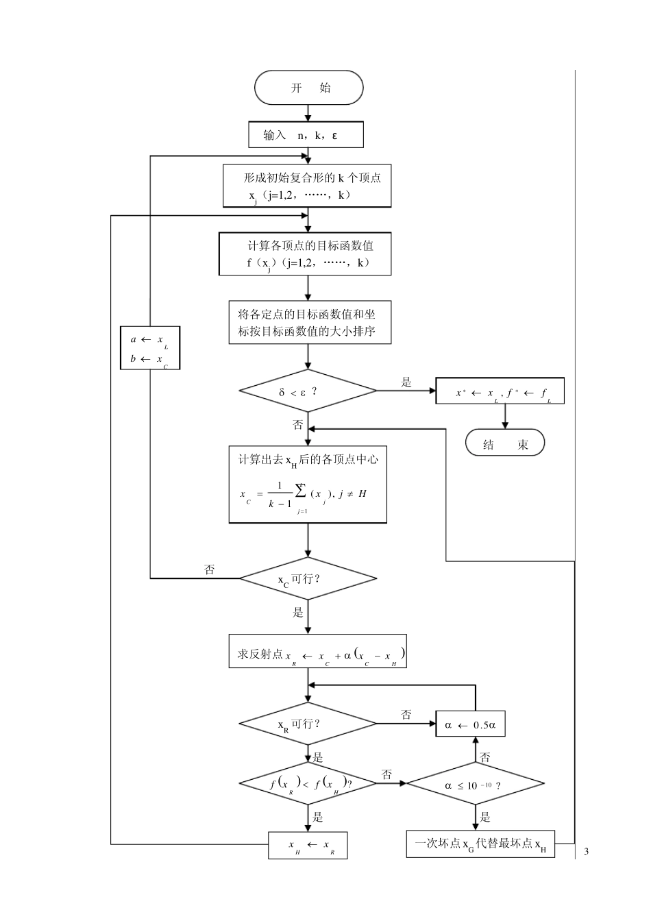
1 机械优化设计实验报告 2 (一 ) 题目:用复合形法求约束优化问题  2221645minxxxf;06422211xxg;01013 xg的最优解。 基本思路:在可行域中构造一个具有K 个顶点的初始复合形。对该复合形各顶点的目标函数值进行比较,找到目标函数值最大的顶点(即最坏点),然后按一定的法则求出目标函数值有所下降的可行的新点,并用此点代替最坏点,构成新的复合形,复合形的形状每改变一次,就向最优点移动一步,直至逼近最优点。 (二 ) 复合形法的计算步骤 1) 选择复合形的顶点数k, 一般取nkn21, 在可行域内构成具有k 个顶点的初始复合形。 2) 计算复合形个顶点的目标函数值,比较其大小,找出最好点xL、最坏点xH、及此坏点xG.. 3) 计算除去最坏点xH以外的(k-1)个顶点的中心xC。判别xC是否可行,若xC为可行点,则转步骤4);若xC为非可行点,则重新确定设计变量的下限和上限值,即令CLxbxa,,然后转步骤1),重新构造初始复合形。 4) 按式HCCRxxxx计算反射点xR ,必要时改变反射系数α 的值,直至反射成功,即满足式HRRjxfxfmjxg;,2,1,0,。然后xR 以取代xH ,构成新的复合形。 5) 若收敛条件  211211kjLjxfxfk得到满足,计算终止。约束最优解为: LLxfxfxx*,*。 (三 ) 复合形法程序框图见下图: 3 开 始 输入 n ,k ,ε 形成初始复合形的k 个顶点 x j(j=1,2,……,k ) 将各定点的目标函数值和坐 标按目标函数值的大小排序 计算出去 x H后的各顶点中心 HjxkxkjjC,)(111  ? x C 可行? x R 可行? 结 束 一次坏点x G代替最坏点x H 计算各顶点的目标函数值 f(x j)(j=1,2,……,k ) 求反射点HCCRxxxx RHxx ?HRxfxf 5.0 ?1010 CLxbxa LLffxx**, 否 是 是 是 是 否 否 否 否 是 4 (四) 源程序如下: #include double objfx(double x[]) { double ff; ff=(x[0]-5)*(x[0]-5)+4*(x[1]-6)*(x[1]-6); return ff; } #include void main() { void comple(int n,int k,int kg,double ep,double x[],double bl[],double bu[], double xcom[][100],double *f) ; double a[]={0,0},b[]={10,20},...

1、当您付费下载文档后,您只拥有了使用权限,并不意味着购买了版权,文档只能用于自身使用,不得用于其他商业用途(如 [转卖]进行直接盈利或[编辑后售卖]进行间接盈利)。
2、本站所有内容均由合作方或网友上传,本站不对文档的完整性、权威性及其观点立场正确性做任何保证或承诺!文档内容仅供研究参考,付费前请自行鉴别。
3、如文档内容存在违规,或者侵犯商业秘密、侵犯著作权等,请点击“违规举报”。

碎片内容

机械优化设计复合型法

确认删除?
VIP
微信客服
  • 扫码咨询
会员Q群
  • 会员专属群点击这里加入QQ群
客服邮箱
回到顶部