精品文档---下载后可任意编辑《绩效管理》教学大纲课程名称:绩效管理课程代码: 课程性质:核心专业课程适用专业:人力资源管理专业(四...
精品文档---下载后可任意编辑第1 条.实施绩效管理的目的和意义如下:1.1.客观评价员工工作绩效,帮助员工提升自身工作水平,从而提升公司...
精品文档---下载后可任意编辑绩效管理系统的需求分析一:绩效管理系统的背景知识(一)企业的存在和持续进展需要绩效管理 从整个企业的角...
精品文档---下载后可任意编辑《绩效管理系统》使用前疑问收集表部门填表人姓名填表日期 年 月 日#《绩效管理系统》使用前疑问1234567891...
精品文档---下载后可任意编辑绩效管理简述前言:据统计,2024 年美国只有 10%不到的企业实施了绩效管理,但到 2024 年有 50%的企业采...
第 1 页 共 4 页精品文档---下载后可任意编辑绩效管理的意义及本质 绩效管理的意义及本质 绩效考核之所以让企业痛并爱着,其实是企...
绩效管理流程版 本 号:_ _ _ ___制 订 者:_ __审 核 者:___ ____ 审 批 者:_ __ 生效日期:_ __电子版本公布电子原稿...
精品文档---下载后可任意编辑绩效管理流程图企业核心导向:双向沟通沟通和确认过程管理 考核管理员工对话流程 HR 工具箱河北搜才 客服 ...
精品文档---下载后可任意编辑绩效管理流程说明表任务概要采购人员绩效管理节点控制相关说明①绩效计划是整个绩效管理过程的起点,是由管理...
精品文档---下载后可任意编辑 假如认为绩效管理在诸如招聘、鼓舞、晋升、薪酬制度等环节中仅起到辅助和能动作用,那么,你需要抓紧洗脑了...
精品文档---下载后可任意编辑绩效管理应用在中小企业的思考 绩效管理对于中国企业已经不是一个陌生的话题,从以年终分配为目的的绩效考核...
精品文档---下载后可任意编辑绩效管理意义和绩效管理原则绩效管理意义第一条 绩效管理目的本制度旨在加强对公司各部门绩效管理工作的指...
精品文档---下载后可任意编辑绩效管理手册一局部 绩效管理综述 一、 绩效管理 绩效是指具有一定素养的员工围绕职位的应付责任所到达的...
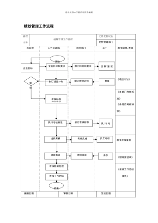
精品文档---下载后可任意编辑绩效管理工作流程流程名称绩效管理工作流程文件受控状态文件管理部门总经理人力资源部相关部门员工相关制度/表...
精品文档---下载后可任意编辑《绩效管理实务》内容摘要【课程提纲】第一讲 绩效管理如何为企业带来竞争优势 1.绩效考核和绩效管理概述 2...
精品文档---下载后可任意编辑绩效管理培训心得 汇总一、绩效管理培训心得体会........................................2二、绩效管理培训...
精品文档---下载后可任意编辑绩效管理体系内容2.1 绩效管理体系第一条 绩效管理体系定义绩效管理体系是由一组既独立又相互关联并能较...
第 1 页 共 9 页精品文档---下载后可任意编辑绩效管理实战训练见解分析 绩效管理实战训练见解分析 现代企业管理留意“以人为本〞的...
精品文档---下载后可任意编辑江苏*****数控装备有限公司JSANGSU ***** NUMERICALLY-CONTROLLED EQUIPMENT CO.,LTD版 次:第 1 版 执...
精品文档---下载后可任意编辑绩效管理工作流程流程名称绩效管理工作流程编 码受控状态执行核心部门人力资源部控制部门人力资源总监行为实...

