贵州大学期末测评实验报告(一)课程名称: CAD/CAM技术及应用学院:机械工程学院专业:材料成型及控制工程班级:成型 131 姓名韦静敏学...
第 1 页 共 49 页 在UG 中利用【规律曲线】|【根据方程】绘制各种方程曲线: 1、极坐标(或柱坐标r,θ,z)与直角坐标系(x,y,z)的转...
如何进行UGNX4 模具分模 ~ 1 ~ 本教程针对对NX4 基本命令有一定了解,想学或正在学分模的人,讲述NX4 分模的步骤和常用命令.这份教程...
如何直接在PROE 打开UG 文件 鉴于有些人不能摸透PROE-打开UG文件,所以做了个简单教程,不完善之处,大家多多思考!! 至 于你...
如何创建UG刀具库 (2010-11-14 06:16:07) 转载▼ 标签: 教育 分类: UG交流 根据经验可知,在Unigraphics NX中,用腔铣、平面铣...
下载后可任意编辑轿车 UG 建模毕业设计12024 年 4 月 19 日下载后可任意编辑(1)打开光盘附录中的“\CH11\Car.prt”文件,如图 1....
下载后可任意编辑人机工程学课程报告小风扇 UG 三维造型产品设计项目说明书下载后可任意编辑产品设计说明书 专 业 : XXXXXXXXXXXXXX...
制 作 自 己 的 UG 制 图 图 框—BY usow ubo1制作自己的 UG 制图框一、CAD 图纸转 UG 文件1. 用 Auto CAD 制作适合自...
下载后可任意编辑目 录准备几何( Prepare Geometry) -------------------------------(2)第一节介绍( Introduce) ------------------...
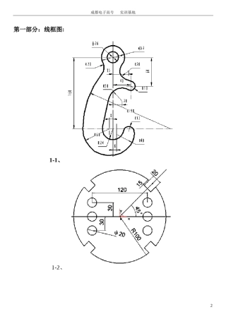
下载后可任意编辑UG 实训报告实训时间: 实训地点: 实训老师: 实训目的: 深化了解 UG 的各种版本的软件。学会使用 UGNX 的基本功能...
目录 1 . 轴及轮轴的绘制····································1 2 . 齿轮的绘制······...
《UG》教学大纲 一、课程说明 适用专业:数控技术、模具设计与制造、机械设备安装与维修、机械制造大类 前期课程:《机械制图》、《Au ...
7.4.2 产生爆炸效果 1.爆炸组件 在新创建了一个爆炸图后视图并没有发生什么变化,接下来就必需使组件炸开。 UG/装配中组件爆炸的方式...
7.2.3 组件的装配 关联条件是指组件的装配关系,以确定组件在装配中的相对位置。关联条件由一个或多个关联约束组成,关联约束限制组件在...
第四节 对象的几何变换、工作坐标系及基准面 4 .1 对象的几何变换 对象的几何变换,用于对已存在的几何对象进行平移、旋转、复制和缩...
Matlab 与UG/Pro E 之间的数据交换方法 为了充分利用各种软件的优点,经常需要在不同软件之间进行数据传递。由于NURBS 曲线已成为CAD...
《 机 械 产 品 三 维 造 型 设 计 ( U G )》 课 程 标 准(一)课程性质与任务机械产品三维造型设计是三年制高职机械...
可供初学者学习
U G 技巧整理 编程实例 1 目 录 第一节 孔加工------------------------(2) 第二节 平面铣------------------------(9) 第...
计算机辅助设计 课程设计说明书 题 目: 齿轮减速器造型设计 院(部): 应 院 专业: 机 械 设 计 制 造 及 其自动化 班...

